Termopares de Isolação Mineral com Proteção Metálica

MODELO

http://www.mitexacta.com/conteudo/upload/image/ex20.jpg

http://www.mitexacta.com/conteudo/upload/image/ex21.jpg

http://www.mitexacta.com/conteudo/upload/image/ex22.jpg

http://www.mitexacta.com/conteudo/upload/image/ex23.jpg

Modelo

Tabela 1

Tabela 2

Tabela 3

Tabela 4

Tabela 5

Tipo/Bainha

Tubo proteção

Cabeçote

Rosca fixação p/ Mod. EX-23 EX-XX 100-XX-mm

Tabela 1: TIPO

Calibração N.º elementos ø da bainha

Material da bainha

Sufixo

Descrição

Tipo T 15 1,5MM 304

Tipo J 316

Inox 316 Tipo E Simples 3,0mm 310 Inox 310 S K Tipo K 600

Inconel 600 Duplo 45 4,5mm Aço Cromo 446

Tipo N 60 6,0mm NBB Nicrobell B Nicrobell C

Tabela 2: PROTEÇÃO EXTERNA

Material ø da proteção 36

Sufixo

Descrição

Ferro preto Inox 304 21,3 x 15,8mm 310

Inox 310 316 Inox 316 27 26,7 x 20,9mm 200

Ferro perlítico 446

Aço cromo 446 600

Inconel 600 Diam. “U” ESPECIFICAR EM MILÍMETROS

Tabela 3: TERMINAL DE LIGAÇÃO

Tipo de cabeçote Rosca ao conduíte

Sufixo

Descrição

A prova de tempo Com tampa parafusada 1/2″NPT ER

A prova de explosão 3/4″NPT

Tabela 4: PARA MODELO EX 21

Sufixo

Descrição

Sufixo

Descrição

Sem conexão 3/4″ NPT Latão 42 1 1/4″ 1/2″ BSP Inox

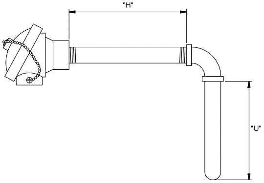
Tabela 5: PARA MODELO EX 23

Proteção horizontal ø Comprimento “H”

Sufixo

Descrição

ferro preto 21,3 x 15,8mm 27 26,7 x 20,9mm COMPRIMENTO “H” ESPECIFICAR EM MILÍMETROS EXEMPLO EX-21-K-S-30-310-21-600-GR-21-27-N-I

Termopar mineral, Tipo K, simples elemento, bainha inox 310 ø 3mm

Tubo externo em inox 310 ø 21,3 x 600mm, rosca de fixação 3/4″ NPT em inox, com cabeçote a prova de tempo.

Casos especiais Adicionar o sufixo C ao final do código para termopar com certificado de calibração.

.