Sensores de Temperatura para a Indústria Química

Tabela 1: TIPO

Calibração N.º elementos da bainha

Sufixo

Descrição

Tipo J Simples 15 15 mm E

Tipo E 30 3,0 mm K

Tipo K 45 4,5 mm D Duplo 6,0 mm N

Tipo N


Tabela 2: MAT. DA BAINHA

Material da proteção

Sufixo

Descrição Inox 304 “45” “71” “45” 310 “108” Inox 310S “45” “71”

Isolado “45” 316 “108” Inox 316 “45” “71” “45” 446 “108” Aço Cromo 446 “45” “71” “45” 600 “108” Inconel 600 “45” “71” “45” NBB “108”

Nicrobell B “45” A “71” Aterrado “45” NBC “108”

Nicrobell C “45” “71” Diam. “U”

ESPECIFICAR EM MILÍMETROS

 

Tabela 3: TERMINAL DE LIGAÇÃO “1”2″

Tipo de cabeçote “2” Conexão ao conduíte 2″ Transmissor de temperature “45”

Sufixo “160” Descrição “45” Sufixo “116” Descrição “44” Sufixo “213” Descrição “45” “160”

A prova de tempo gde “45” 21 “116” 1/2″ BSP “44” TT* “213”

Acoplado ao cabeçote “45” TP “160”

Com tampa parafusada “45” 27 “116” 3/4″ NPT “44” “213” “45” ER “160”

A prova de explosão “45” 45 “116”

Prensa cabo “44” “213”

Com bloco cerâmico de ligação *indicar faixa de operação (Range) do transmissor top

 

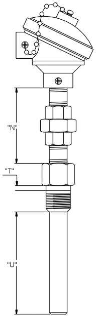
Tabela 4: EXTENSÃO “N”, “U” e “T” “1” “60%” “2”

Material “2” União Sufixo Descrição galvanizado 1/2″ NOM. união) aço inox 304 3/4″ NOM. com união Nota: padrão DIM. “N” = 100mm, outra medida, especificar Compr. “U” e “T”, especificar em mm.

Tabela 5: POÇO Construção  

Material P/ Poço Rosqueado P/ Poço Flangeado Sufixo Descrição

Rosca Inox 304 21

Rosca 1/2″ 330 nominal 1″ NPT 420 nominal 1 1/4″ 27

Rosca 3/4″ 480 nominal 1 1/2″ Flangeado Paralelo 600

Nominal 2″ 316 Inox 316 33

Rosca 1″150 150 pol2 300 Soldado 11 Especificar BSP 600 pol2 Cônico

Especificar 500 pol2 “12”

Acabamento Flange. Especificar.

EXEMPLO EX-45-K-S-60-310-I-GR-27-00-G-21-U-200-00

Termopar Mineral Tipo K, simples elemento, bainha inox 310 S ø 6mm junta quente isolada, cabeçote de alumínio a prova de tempo, niple união em aço galvanizado 1/2 x 100mm, comprimento útil – 200mm sem poço.

Casos especiais Adicionar o sufixo C ao final do código para termopar com certificado de calibração. https://termopar.ind.br/para-instalacao-no-cabecote-dos-sensores/

CONSULTE TAMBÉM OPÇÃO C/ TRANSMISSOR ELETRÔNICO DE TEMPERATURA